镇江市双怡重工科技有限公司欢迎您的到来!

弹性联轴器

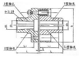
TLLT型弹性套柱销联轴器

时间:2019年07月03日 来源:不详 作者:佚名

TLLT型弹性套柱销联轴器

TL(LT)型弹性套柱销联轴器 特点及应用场合:具有肯定补偿两轴线相对偏移和减振、缓冲性能,结构简单,制造容易,不需润滑,维修方便,径向尺寸较大,适用于安装底座刚性好,对中精度较高,冲击载荷不大,对减振要求不高的轴系传动,适用范围广泛,是我国最早通用标准联轴器。不适用于高速和低速重载工况条件。

    TL(LT)型--基本型;

    TLL(LTZ)型--带制动轮型;

TLLT型弹性套柱销联轴器

 

TL(LT)型弹性套柱销联轴器参数及重要尺寸:(GB/T4323-84<2002>)  mm

TLLT型弹性套柱销联轴器

Copyright © 镇江市双怡重工科技有限公司 All Rights Reserved . 技术支持:江苏易润 苏ICP备18 号