WGT接中心套鼓形齿式联轴器
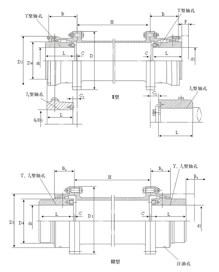
WGT接中心套鼓形齿式联轴器属于鼓形齿式联轴器的一种简称“鼓齿联轴器”,分为I型和II型两种情势,WGT接中心套鼓形齿式联轴器I型为带压盖型,好处在于拆卸压板即可检验、替换外齿;瑕玷是制作工序叫为复杂重量大价格高。WGT接中心套鼓形齿式联轴器II型为不带压盖型,好处是价格便宜。 WGT接中心套鼓形齿式联轴器是齿式联轴器的改动型,相对于直齿联轴器来说可许可更大的角位移,可改善齿的接触条件,进步传递转矩的能力,延伸使用寿命,具有角位移时沿齿宽的接触状况,由齿数雷同的内齿圈和带外齿的凸缘半联轴器等零件组成。 WGT接中心套鼓形齿式联轴器在工作时,两轴产生相对角位移,内外齿的齿面周期性作轴向相对滑动,必然形成齿面磨损和功率消费,因此,齿式联轴器需在有优秀和密封的状况下工作。齿式联轴器径向尺寸小,承载能力大,常用于低速重载工况条件的轴系传动,高精度并经动平衡的齿式联轴器可用于高速传动。 WG型--基本型; WGP型--带制动盘型,适用于与点盘式制动器配套; WGZ型--带制动轮型,适用于与瓦块式制动器配套; WGT型--接中心套型,适用于两轴长距离联接,许用转速[n]取决于中心套的长度和质量,并应验算临界转速; WGC型--垂直安装型,用于联接垂直的两轴线轴系传动; I型--密封端盖为星散型,齿间距较大,可以许可较大的径向位移,可与Y、J1、Z1型轴伸联接;

  |